ВУЗ: Не указан

Категория: Не указан

Дисциплина: Не указана

Добавлен: 04.02.2025

Просмотров: 438

Скачиваний: 1

ВНИМАНИЕ! Если данный файл нарушает Ваши авторские права, то обязательно сообщите нам.

5.Разрядники

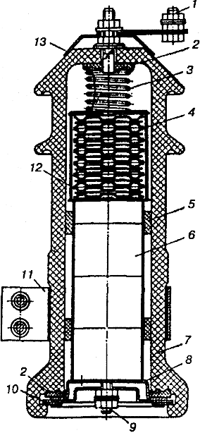
Разрядники являются защитными аппаратами. Они предназначены для защиты изоляции электрооборудования от перенапряжений. В распределительных устройствах электроустановок применяются вентильные разрядники, на линиях электропередачи — трубчатые. Вентильные разрядники состоят из искровых промежутков, включенных последовательно с рабочим резистором, имеющим нелинейную вольт-амперную характеристику. В некоторых разрядниках параллельно искровым промежуткам присоединяют шунтирующие резисторы для равномерного распределения напряжения между ними. В условных обозначениях разрядников буквы означают: Р — разрядник; В — вентильный, П — подстанционный (поляризованный для разрядников постоянного тока); С — станционный; М — с магнитным дутьем; О — облегченной конструкции; У — униполярный; К — для ограничения коммутационных перенапряжений. Цифры, следующие за буквами в обозначении, означают напряжения разрядника. Разрядники характеризуются рядом параметров. Класс напряжения разрядника — номинальное значение напряжения сети, для работы в которой разрядник предназначен. Наибольшее допустимое напряжение разрядника — эффективное значение наибольшего гарантированного заводом-изготовителем напряжения, при котором разрядник надежно гасит дугу. Пробивное напряжение разрядника— наибольшая величина плавно нарастающего напряжения в момент пробоя разрядника. Импульсное пробивное напряжение разрядника — наибольшая величина импульсного напряжения в момент пробоя разрядника при заданном значении предразрядного времени. Предразрядное время — время от начала нарастания импульсного напряжения до момента пробоя разрядника. Номинальный разрядный ток разрядника — амплитудное значение импульсного тока, который проходит через разрядник после его пробоя. Ток проводимости разрядника, искровые промежутки которого шунтированы резисторами, — ток, проходящий через разрядник при приложении к нему напряжения постоянного тока заданной величины. У разрядников, не имеющих шунтирующих резисторов, измеряемый при этом ток называется током утечки. Вентильные разрядники переменного тока служат основным средством ограничения перенапряжений и защиты от них. Разрядник РВП-6 показан на рис. 1. Он состоит из многократных искровых промежутков 12 и последовательно включенных нелинейных вилитовых резисторов б, размещенных в фарфоровом корпусе 7 и сжатых спиральной пружиной 3. Блок многократных искровых промежутков включает несколько последовательно соединенных единичных искровых промежутков, помещенных в бумажно-бакслитовый цилиндр 4. Единичный искровой промежуток состоит из двух фигурных латунных электродов, приклеенных к изоляционной меканитовой или электрокартонной прокладке. Нелинейный последовательный резистор набирается из вилитовых (вилит-запеченная смесь карборунда с жидким стеклом), обладающих вентильными свойствами, то есть сопротивление карборунда изменяется в зависимости от приложенного к нему напряжения: чем выше приложенное напряжение, тем ниже его сопротивление, и наоборот. Количество искровых промежутков в блоке и вилитовых дисков в колонке зависит от величины номинального напряжения разрядника. Плоскости, которыми соприкасаются диски, для лучшего контакта металлизируют алюминием, а боковые поверхности вилитовых дисков для преграждения пути токам утечки покрывают изолирующей обмазкой. Для предотвращения смещения вилитовых дисков ставятся фетровые или войлочные прокладки 5. Вилит невлагостоек и при отсыревании его вентильные свойства ухудшаются. Поэтому разрядник герметизируется уплотнением 2 из озоностойкой резины и закрывается сверху металлическим колпаком 13. К несущей конструкции разрядник присоединяется хомутом 11, к токоведущим проводам — болтом 1, а к заземлению — шпилькой 9. Таким образом, разрядник включается между фазой электроустановки и контуром заземления параллельно защищаемой изоляции.


Рис. 1. Разрядник типа РВП-6 В нормальном режиме работы искровые промежутки обеспечивают изоляцию между фазой и землей. Как только возникает перенапряжение, опасное для изоляции электроустановки, происходит пробой искровых промежутков, в результате чего сеть оказывается соединена с землей через вилитовые диски. В это момент к вилитовым дискам прикладывается максимальное напряжение, поэтому сопротивление их будет наименьшим, а ток замыкания на землю — наибольшим. В результате разряда на землю напряжение в сети снижается, а сопротивление вилитовых дисков возрастает. Дуга переменного тока при прохождении через нуль гаснет, а затем вновь восстанавливается. Когда напряжение, приложенное к разряднику, оказывается недостаточным для поддержания дуги на искровых промежутках, при первом же прохождении тока через нуль его протекание через разрядник прекращается. Модернизированный разрядник РВП с уменьшенным диаметром искровых промежутков и вилитовых дисков со сниженными габаритами и массой выпускается под наименованием РВО (разрядник вентильный облегченной конструкции).

2. Разрядник типа РВС Вентильный разрядник РВС (разрядник вентильный станционный) выпускается в виде пяти стандартных элементов: РВС-15, РВС-20, РВС-30, РВС-33 и РВС-35. Из этих элементов комплектуют разрядники на напряжение до 220 кВ. Их устанавливают один на другой и соединяют последовательно. На рис. 2 показан элемент РВС, состоящий из фарфорового кожуха 1, внутри которого находятся вилитовые диски 2 и комплекты искровых промежутков 4, состоящие из нескольких единичных искровых промежутков 3. Каждый комплект заключен в фарфоровый цилиндр 5. Все искровые промежутки и вилитовые диски сжаты спиральными пружинами 6. Фарфоровый кожух закрыт с торцевых сторон крышками, под которыми проложена уплотняющая резина 7. Фарфоровый кожух армирован фланцами 8, которые служат для крепления разрядника к опорной конструкции, а также для присоединения к шинам или проводам. Комплекты искровых промежутков шунтируются подковообразными резисторами 9, предназначенными для равномерного распределения напряжения между ними.

На рис. 3 показан комплект искровых промежутков, состоящий из четырех единичных искровых промежутков. Каждый единичный искровой промежуток включает в себя два фигурных латунных электрода 4, разделенных миканитовой прокладкой. Искровые промежутки размещаются в фарфоровом цилиндре 3, закрытом сверху и снизу латунными крышками 1. К последним присоединяются подковообразные шунтирующие резисторы 2, изготовленные на основе карбоцида. Рис. 3. Комплект искровых промежутков разрядника


Рис. 4. Блок искровых промежутков разрядника типа РВМ На напряжение 35-500 кВ нашли применение разрядники магнитовентильные типа РВМ. Они отличаются от других типов разрядников наличием блоков магнитных искровых промежутков (рис. 4). Такие стандартные блоки искровых промежутков, дополненные дисковыми вилитовыми резисторами изготовляются на напряжение 35 кВ. Блок магнитных искровых промежутков состоит из набора единичных искровых промежутков 2, разделенных между собой кольцевыми магнитами 3. Единичный искровой промежуток составляется из двух концентрически расположенных медных электродов 6 и 8, между которыми образуется кольцевая щель 7. Возникающая в щели дуга вращается под действием постоянных магнитов с большой скоростью, что способствует ее быстрому гашению Набор из постоянных магнитов и единичных искровых промежутков помещается внутри фарфоровой покрышки 1, закрытой стальными крышками 5. Магниты и медные электроды плотно сжимаются стальной пружиной 4.


6. Число изоляторов в гирлянде

Число изоляторов в гирлянде рассчитывается согласно [2] по номинальному напряжению, длине пути утечки изолятора, коэффициенту эффективности, степени загрязнения района.

где Iиз - длина пути утечки выбранного изолятора по каталожным данным; К - коэффициент эффективности использования пути утечки (задается в каталоге изоляторов). Uл - наибольшее линейное напряжение данного класса изоляции (принимается 1.1 Uном); I0 - рекомендуемая удельная длина пути утечки в зависимости от района загрязнения [2]

Степень загрязнения

1

2

3

4

5

6

Путь утечки мм/кВ

13

15

18

22.5

30

35

Для многоцепных гирлянд I0 увеличивается на 5%. Для натяжных гирлянд (на анкерных опорах) количество изоляторов увеличивается на ∆n [2]

Uном

35-220 кВ

330 кВ

500 кВ

750 кВ

∆n

1

2

3

4

7. Генераторы импульсных напряжений

 Импульсами напряжения называют волны напряжения длительностью от долей микросекунд до нескольких миллисекунд. Генераторы таких напряжений предназначаются для испытаний различных видов изоляций (линейной, аппаратной, трансформаторной), определения вольтносекундных характеристик разрядников, исследования защитного действия молниеотводов, изучения физики высоковольтного разряда и т.д.


         Генератор импульсных напряжений (ГИН) является важнейшей составляющей испытательных лабораторий заводов, выпускающих оборудование для передачи электрической энергии.

         Основной частью импульсного генератора являются конденсаторы, заряжаемые параллельно и разряжаемые на нагрузку при последовательном соединении с помощью коммутирующих разрядников. Таким путем при наличии в составе ГИН n конденсаторов, заряжаемых до напряжения U, можно получить на выходе ГИН номинальное напряжение nU. Это напряжение прикладывается к объекту испытаний и должно имитировать воздействие грозового импульса с фронтом 1,2 микросекунды и длительностью на полувысоте 50 микросекунд на элемент высоковольтной линии передачи или изоляцию аппарата, установленного на подстанции.

         При коммутациях высоковольтных цепей возникают также импульсы перенапряжений, имеющих время нарастания до 1000 микросекунд и длительность порядка нескольких миллисекунд. Современные генераторы импульсных напряжений позволяют путем простой замены определенных элементов создавать подобные импульсы, имитирующие коммутационные перенапряжения.