Файл: физика лабораторные работы. 1курс.doc

ВУЗ: Не указан

Категория: Не указан

Дисциплина: Не указана

Добавлен: 01.10.2025

Просмотров: 431

Скачиваний: 0

ВНИМАНИЕ! Если данный файл нарушает Ваши авторские права, то обязательно сообщите нам.

СОДЕРЖАНИЕ

Министерство образования Республики Беларусь

Сводная таблица учета выполнения и защиты лабораторных работ студента _______ группы ____ курса ______________________ факультета

( Ф. И. О. Студента)

Содержание

Методы вычисления погрешностей

Математический аппарат вычисления случайных ошибок прямых измерений

Раздел 1. Механика Лабораторная работа №1. Определение линейных размеров и объемов тел правильной формы, оценка погрешностей измерений

Теория работы

Порядок выполнения работы Задание №1. Вычисление объема шара

Вычисления к заданию №1: Задание №2. Вычисление объема цилиндра

Вычисления к заданию №2: Задание №3. Вычисление объема параллелепипеда

Вычисления к заданию №3:

Контрольные вопросы защиты лабораторной работы:

Лабораторная работа №2. Изучение законов кинематики и динамики поступательного движения на машине Атвуда

Теория работы

I. Законы кинематики поступательного движения.

II. Законы динамики поступательного движения.

III. Соответствие между двумя способами описания движения на основании кинематики и динамики поступательного движения.

Теория лабораторной работы

Порядок выполнения работы Задание №1 Исследование кинематики прямолинейного равномерного движения

Задание №2 Исследование кинематики прямолинейного равноускоренного движения

Вычисления к заданию №2: Задание №3 Исследование динамики поступательного движения

Контрольные вопросы защиты лабораторной работы:

Лабораторная работа №3. Проверка закона сохранения механической энергии

Теория работы

Порядок выполнения работы

Вычисления:

Контрольные вопросы защиты лабораторной работы:

Лабораторная работа №4. Изучение температурной зависимости коэффициента вязкости жидкости с помощью капиллярного вискозиметра

Теория работы

Определение коэффициента динамической вязкости капиллярным методом

Порядок выполнения работы

Вычисления:

Контрольные вопросы защиты лабораторной работы:

Лабораторная работа №5. Определение коэффициента вязкости жидкости методом Стокса

Теория работы

2) Почему у одного и того же организма в разных физиологических состояниях соэ может отличаться?

Порядок выполнения работы

Вычисления:

Контрольные вопросы защиты лабораторной работы:

Раздел 2. Молекулярная физика и термодинамика Лабораторная работа №6. Измерение коэффициента поверхностного натяжения жидкости методом отрыва кольца

Теория работы

Порядок выполнения работы

Задание №1. Определение коэффициента жесткости пружины

Вычисления к заданию №1: Задание №2 Определение коэффициента поверхностного натяжения жидкости

Вычисления к заданию №2:

Контрольные вопросы защиты лабораторной работы:

Лабораторная работа №7. Определение размеров молекул касторового масла

Теория работы

Порядок выполнения работы

Вычисления:

Контрольные вопросы защиты лабораторной работы:

Лабораторная работа №8. Определение теплоемкости твердых тел

Теория работы

Определение удельной теплоемкости алюминия

Определение удельной теплоемкости латуни

Порядок выполнения работы Задание №1. Определение удельной и молярной теплоемкости алюминия

Вычисления к заданию №1:

Задание №2. Определение удельной и молярной теплоемкости латуни

Вычисления к заданию №2:

Контрольные вопросы защиты лабораторной работы:

Лабораторная работа № 9. Изучениеэлектроизмерительныхприборов. ПроверказаконаОма для участка цепи

Теория работы

1. Классификация электроизмерительных приборов

2. Физические основы работы отдельных систем измерительных приборов Приборы магнитоэлектрической системы

Приборы электромагнитной системы

Приборы электродинамической системы

3. Обозначения технических данных приборов

Порядок выполнения работы Задание №1. Проведение классификации электроизмерительных приборов

Задание №2. Вычисление показаний приборов и оценка погрешностей прямых измерений

Вычисления к таблице №2: Задание №3. Проверка закона Ома для участка цепи

Контрольные вопросы для защиты лабораторной работы:

Лабораторная работа № 10. Определение коэффициента диэлектрической поляризации питательных веществ

Теория работы

Порядок выполнения работы

Вычисления: Контрольные вопросы защиты лабораторной работы:

Лабораторная работа №11. Изучение дисперсии электропроводности ткани переменному току

Теория работы

Порядок выполнения работы

Вычисления:

Контрольные вопросы защиты лабораторной работы:

Лабораторная работа №12. Определение горизонтальной составляющей индукции магнитного поля Земли. Изучение принципа суперпозиции магнитных полей

Теория работы

Порядок выполнения работы

Вычисления:

Контрольные вопросы защиты лабораторной работы:

Раздел 4. Оптика. Квантово - оптические явления Лабораторная работа № 13. Определение фокусных расстояний и оптической силы линз

Теория работы

Задание №1. Нахождение фокусного расстояния и оптической силы собирающей линзы

Порядок выполнения задания №1

Вычисления к заданию №1: Задание №2. Определение фокусного расстояния и оптической силы собирающей линзы методом Бесселя

Порядок выполнения задания №2

Вычисления к заданию №2: Контрольные вопросы защиты лабораторной работы:

Лабораторная работа №14. Определение концентрации раствора сахарозы с помощью рефрактометра

Теория работы

Порядок выполнения работы

Контрольные вопросы защиты лабораторной работы:

Лабораторная работа №15. Изучение микроскопа

Теория работы

Задание №1. Определение увеличения микроскопа

Порядок выполнения задания №1

Задание №2. Определение абсолютного показателя преломления стекла

Порядок выполнения задания №2

Контрольные вопросы допуска и защиты лабораторной работы.

Вычисления к л/р №10 Лабораторная работа №16. Определение длины световой волны при помощи дифракционной решетки

Теория работы

Порядок выполнения работы Задание №1. Определение постоянной дифракционной решетки

Вычисления к заданию №1: Задание №2. Определение длины световой волны

Вычисления к заданию №2: Контрольные вопросы защиты лабораторной работы:

Лабораторная работа №17. Изучение основных законов внешнего фотоэффекта

Теория работы

Порядок выполнения работы Задание №1. Снятие световой характеристики фотоэлемента

Вычисления к заданию №1:

Задание №2. Снятие вольтамперной характеристики фотоэлемента

Задание №3. Снятие спектральной характеристики фотоэлемента

Вычисления к заданию №3:

Справочные данные:

Контрольные вопросы защиты лабораторной работы:

Приложение 1. Приставки для обозначения десятичных кратных и дольных единиц

Пример вычисления выражения, включающего значения физических величин со степенями числа 10

Приложение 2. Основные физические константы в си

Приложение 3. Связь между различными системами измерения Связь между различными системами измерения температуры

Англо-американские внесистемные единицы измерения

Литература:

  1. Сравнить полученное значение удельной теплоемкости алюминия с известным табличным значением: сAl = 896 Дж/(кг·К).

  2. Проверить для алюминия закон Дюлонга и Пти (9.6). Сделать вывод.


Вычисления к заданию №1:

Вывод:

Задание №2. Определение удельной и молярной теплоемкости латуни

  1. Выписать из задания №1 полученное среднее значение удельной теплоемкости алюминия <с2>.

  2. Провести измерения, аналогичные пунктам 1-9 задания №1, используя в качестве исследуемого тело из латуни.

  3. Найти удельную теплоемкость латуни по формуле (9.14), где удельная теплоемкость воды с3 = 4186 Дж/(кг·К).

  4. Вычислить молярную теплоемкость латуни С по формуле (9.5), используя значение молярной массы латуни лат =0,129 кг/моль.

  5. Данные измерений и вычислений занести в таблицу 2.

Удельная теплоемкость алюминия: <с2> = __________________________

Таблица 2.

m1,

кг

m2,

кг

m3,

кг

Т1,

К

Т2,

К

Т ,

К

c,

<c>,

c,

<c>,

,

%

1

2

с =

С =


  1. Сравнить полученное значение удельной теплоемкости латуни с известным табличным значением: слат = 386 Дж/(кг·К).

  2. Проверить для латуни закон Дюлонга и Пти (9.6). Сделать вывод.

Вычисления к заданию №2:

Вывод:

Контрольные вопросы защиты лабораторной работы:

  1. Что изучает термодинамика? Что такое термодинамическая система, процесс? Какие бывают виды термодинамических систем, процессов?

  2. Что такое количество теплоты? Запишите и сформулируйте Первое начало термодинамики. Объясните, что будет происходить с термодинамической системой при сообщении ей количества тепла (два механизма).

  3. Запишите выражения и дайте определения теплоемкости, удельной и молярной теплоемкости.

  4. Сформулируйте закон Дюлонга и Пти. Сравните полученные Вами значения молярных теплоемкостей алюминия и латуни с законом Дюлонга и Пти.

  5. Запишите и объясните уравнение теплового баланса (9.9) для калориметрического метода. Сделайте вывод выражений (9.14) и (9.15) для определения удельных теплоемкостей латуни и алюминия.

Лабораторная работа № 9. Изучениеэлектроизмерительныхприборов. ПроверказаконаОма для участка цепи

Цель работы: изучить основные характеристики электрического тока и законы Ома, классификацию электроизмерительных приборов, их устройства, принцип работы, технические характеристики, правила отсчета и обработки результатов измерений.

Приборы и принадлежности: амперметры, вольтметры, многодиапазонные и комбинированные приборы разных систем и классов точности, источник тока, магазин сопротивлений.

Теория работы

Постоянный электрический токэто упорядоченное движение заряженных частиц. В металлах – электронов, в электролитах – ионов, в газах - электронов и ионов. Основными характеристиками постоянного тока являются:

Сила токазаряд, проходящий через поперечное сечение проводника за единицу времени: . (12.1)

Размерность силы тока: .


Плотность токасила тока, проходящего в проводнике единичного сечения: . (12.2)

Размерность плотности тока: .

Когда мы помещаем проводник в постоянное электрическое поле с разностью потенциалов , то со стороны электрического поля на заряды действует сила Кулона, которая совершает работу по перемещению зарядов и в проводнике возникает постоянный электрический ток. Т.е., постоянный ток – это электрический ток одного направления. Разность потенциалов в теории электрического тока называется по-другому – электрическое напряжение (или просто – напряжение) и обозначается. Размерность напряжения такая же, как и размерность разности потенциалов:.

Пусть электрический проводник – это металл. По своей химической структуре металл имеет металлическую решетку, в узлах которой находятся атомные остатки – положительные ионы, а электроны внешних орбиталей становятся коллективизированными. В металле, где атомные остатки связаны сильной металлической связью, атомные остатки не могут совершать поступательное хаотическое движение, но они находятся в состоянии непрерывного теплового колебательного движения. Если к металлу приложить внешнее электрическое поле, то, как было отмечено выше, электрическое поле начнет перемещать свободные коллективизированные электроны, которые будут двигаться по металлической решетке, испытывая постоянные соударения с атомными остатками, которые совершают тепловые колебания. Т.е., сам проводник оказывает сопротивление проходящему через него электрическому току.

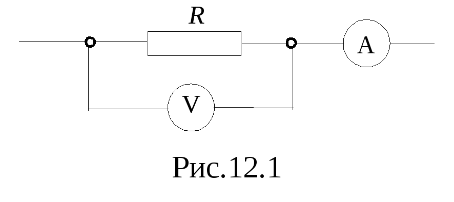
Способность проводника препятствовать прохождению через него электрического тока называется электрическим сопротивлением проводника (или просто – сопротивлением) – R. Таким образом, сила тока в проводнике увеличивается с увеличением внешнего электрического поля, т.е. напряжения, и уменьшается при увеличении сопротивления самого проводника, т.е. способности проводника препятствовать току. Эти два фактора, от которых зависит сила тока в проводнике, объединяются законом Ома для участка цепи (для участка проводника) (Рис.12.1): (12.3)


сила тока на участке цепи прямо пропорциональна приложенному напряжению и обратно пропорциональна сопротивлению проводника.

Из закона Ома определяется размерность сопротивления:

.

Величина, обратная сопротивлению проводника, называется электропроводностью проводника (или просто электропроводностью):

. (12.4)

Размерность электропроводности:

.

Если участок проводника сопротивлением R подключен к источнику постоянного тока (Рис.12.2), имеющему внутреннее сопротивление r, то в цепи возникнет постоянный ток, за направление которого принимается направление от положительного полюса источника тока к его отрицательному полюсу. Величина силы тока определяется законом Ома для полной цепи, содержащей источник тока: (12.5)

cила тока в цепи содержащей источник тока прямо пропорциональна электродвижущей силе (ЭДС – ) источника тока и обратно пропорциональна сумме внешнего сопротивления (участка цепи) и внутреннего сопротивления источника тока.

В данной работе необходимо изучить основные характеристики постоянного электрического тока, классификацию электроизмерительных приборов для их определения, научиться их определять и использовать для нахождения сопротивления.