ВУЗ: Не указан
Категория: Не указан
Дисциплина: Не указана
Добавлен: 29.07.2025
Просмотров: 59
Скачиваний: 0
Закон Пашена
Цель работы: Рассчитать зависимости напряжения пробоя газового разряда.
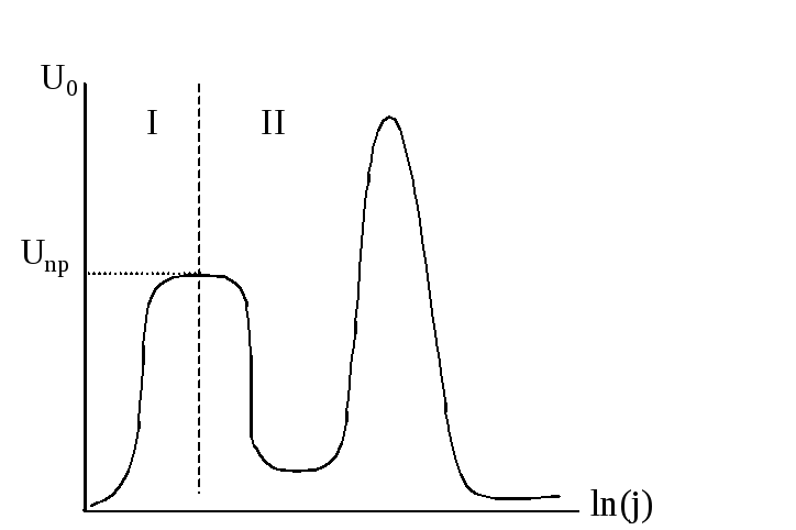
Электрическая прочность двухэлектродного промежутка оценивается напряжением пробоя и имеет большое значение при разработке плазменных приборов и устройств. Физический смысл напряжения пробоя (Uпр) хорошо иллюстрируется с помощью вольт-амперной характеристики двухэлектродного промежутка, показанной на рис.1, где j – плотность тока, протекающего между электродами, Uо – приложенное к ним напряжение.
|
|
|
Рис.1 |
Область I обусловлена током частиц, образовавшихся в промежутке за счет объемной ионизации и вторичной эмиссии электронов поверхностью катода под действием достаточно жестких квантов и быстрых ядерных частиц, связанных с естественным или искусственным фоном облучения. Если каким-то образом оградить промежуток внешнего ионизирующего воздействия, то ток между электродами в области I практически прекратиться. По этой причине протекание тока на участке I вольт-амперной характеристики называется «несамостоятельным» разрядом.
Совершенно иначе обстоят дела на II участке вольт-амперной характеристики. Здесь очень существенна вторичная эмиссия электронов катодом под действием бомбардирующих его ионов. За счет образования ионов в объеме и выбивания ими вторичных электронов разряд перестает зависеть от внешних ионизирующих воздействий, он переходит в режим самоподдержания – становится «самостоятельным». Показанная на рис.1 точка, определяющая напряжение электрического пробоя промежутка (Uпр) является граничной, определяющей «несамостоятельный» разряд от «самостоятельного». По этой причине обще принятая методика вычисления значения Uпр основана на расчете Uо, при котором начинается выполняться условие самостоятельности:
, (1)
где γ – коэффициент вторичной эмиссии ионно-электронного типа, L – расстояние между электродами, α(x) – коэффициент объемной ионизации нейтральных атомов или молекул газа электронами.
В первом приближении можно считать, что значение коэффициента γ практически постоянно. Если предполагать, что в объеме при условиях, характерных для предпробойного состояния, образуются в основном однозарядные ионы, то отклонение от допущения о постоянстве коэффициента γ наступает лишь при энергии ионов около 1 кэВ.
Коэффициент объемной ионизации α строго определяется через функцию распределения электронов по энергиям, которая в сильном электрическом поле отличается от максвелловской. Определение этой функции в зависимости от напряженности электрического поля и координаты пространства – задача сложная, громоздкая и, тем самым, неоправданная для получения результатов, удобных для практического использования. Обработка экспериментальных результатов по зависимости α от напряженности электрического поля выявила, что эту зависимость приближенно можно описать следующим соотношением:
,
(2)
где Е – напряженность электрического поля, р – давление газа (или пара) в промежутке, А и В – константы, зависящие от рода газа.
К сожалению, такая форма зависимости не позволяет достаточно точно описывать поведение α(Е,р) в широком диапазоне изменения аргументов с одними и теми же значениями констант А и В. Поэтому для аппроксимации коэффициента объемной ионизации для различных диапазонов Е/р приходиться для одного и того же газа подбирать различные значения А и В.
В таблице 1 приведены значения констант А и В для некоторых газов и указан диапазон Е/р, в котором можно пользоваться приводимыми данными.
Таблица 1
|
Газ |
A, cm-1Topр-1 |
B, B cm-1Topр-1 |
E/p, B cm-1Topр-1 |
|
Ar |
13,6 |
235 |
100 – 600 |
|
Ne |
13,2 |
245 |
100 – 600 |
|
H2 |
5 |
130 |
100 – 600 |
Экспериментальные данные по коэффициенту объемной ионизации электронами некоторых газов представлены на рис.2.
|
|
|
Рис. 2. |
Степень точности сделанного ранее допущения о постоянстве коэффициента вторичной ионно-электронной эмиссии γ можно оценить по экспериментальным данным, приведенным на рис. 3 и 4.
|
|
|
Рис.3 Рис. 4 |
Приближенные данные о коэффициенте вторичной эмиссии γ при облучении материалов ионами некоторых газов представлены в таблице 2.
Таблица 2.
|
Газ |
Ar |
Ne |
H2 |
|
Металл |
|||
|
Fe |
0,058 |
0,022 |
0,061 |
|
Pt |
0,03 |
0,23 |
0,02 |
|
Ni |
0,058 |
0,031 |
0,053 |
Вернемся к условию самостоятельности разряда (1). Поскольку токи, протекающие между электродами в предпробойном состоянии малы, не будем считаться со связанным с наличием объемных зарядов искажением потенциального рельефа между электродами. Примем, что для плоских электродов распределение потенциала между ними линейно. В связи с этим электрическое поле будет однородным, а его напряженность определяется, как
. (3)
Подставим выражения (2) и (3) в условие самостоятельности (1). Полученное при этом уравнение решается относительно Unp. Unp=f(pL) – зависимость получить самостоятельно.
Полученная зависимость Unp=f(pL) – аналитическое выражение закона Пашена. Необходимо обратить внимание на то, что давление газа и междуэлектродное расстояние входят в зависимость в виде произведения. Графическая иллюстрация закона Пашена в качественном виде представлена на рис.5.
|
|
|
Рис.5 |
Из простого анализа зависимости Unp=f(pL) видно, что если выражение под знаком логарифма примет значение, равное 1, то Unp станет бесконечно большим. Это означает лишь то, что вблизи pL, при котором складывается такая ситуация ионизации в объеме практически отсутствует и электрическая прочность промежутка следует определять с помощью закономерностей, характерных для вакуумного пробоя.
При достаточно больших значениях pL начинает играть существенную роль процессы ступенчатой ионизации, фотоионизации и др., что также обуславливает отклонение от закона Пашена.
Качественно ход кривой закона Пашена объясняется следующим образом. Рассматриваем относительно минимума кривой. Пусть L постоянно и меняется давление газа р. Давление газа р увеличивается, следовательно, количество молекул газа увеличивается, а значит длина свободного пробега электрона в газе уменьшается, поэтому на расстоянии каждого свободного пробега электрон в среднем проходит меньшую разность потенциалов и вероятность ионизации при столкновении уменьшается, что приводит к увеличению Unp. При уменьшении давления газа р уменьшается число столкновений электрона с молекулами газа на пути, пройденном электроном в направлении от катода к аноду.
Рассмотрим теперь случай, когда давление газа р постоянно, а меняется расстояние между электродами L. При увеличении этого расстояния уменьшается напряженность поля Е, так как в случае плоских электродов Е=U/L, падает энергия электронов, уменьшается вероятность ионизации, что влечет за собой увеличение Unp. При уменьшении расстояния между электродами L уменьшается пространство, находящееся в распоряжении идущей от катода к аноду лавины при ее развитии, значит число электронов уменьшается.
Уходят ли обе ветви кривой закона Пашена в бесконечность? Нет, слева ветвь ограничена вакуумным пробоем, справа – лавинным пробоем.
Вакуумный пробой заключается в следующем. При уменьшении расстояния между электродами напряженность поля у поверхности катода возрастает настолько, что начинается холодная эмиссия. Удары эмитируемых заряженных частиц бомбардируют электрод. Электрод начинает греться. Происходит выделение газов и испарение материала электрода, нарушается вакуум, и между электродами происходит пробой.
|
|
|
Рис. 6. Экспериментальные зависимости. |
Порядок проведения работы.
-
Выбрать вид газа, из таблицы 1.
-
Построить график зависимости α(Е,р) для сопоставления расчетных результатов с экспериментальными данными.
-
Рассчитать ход зависимости Unp=f(pL) для выбранного газа и различных материалов катода.
Содержание отчета.
-
Цель работы.
-
Физика.
-
Расчетные формулы с обозначением входящих величин.
-
Сопоставление расчетных данных с экспериментом.
-
Выводы: проанализировать влияние рода газа и материала катода на ход кривых Пашена, сравнить расчетные данные с экспериментальными (рис. 6).




